Реле мініатюрні RM94
Виробник: Relpol
- Мініатюрний корпус
- Реле загального використання
- Рівень захисту ІР40 або ІР67
- Уніфікований корпус під друковану плату
- Котушка DC - стандартне і чутливе виконання
- Доступні модифікації з прозорим корпусом
-
- Специфікації
Дані контактів Кількість та тип контактів 2 CO, 2 NO, 2 NC Матеріал контактів AgCu/Au 0,2 µm, AgCdO, AgCdO/Au 3 µm Номінальний струм навантаження 8 A / 250 В AC 8 A / 24 В DC Максимальна комутована напруга 440 В AC Максимальна комутована потужність 2000 ВA Максимальний комутований струм 8 A Опір контакту < 100 мΩ Дані котушки Номінальна напруга 6 ... 110 В DC - стандартне виконання
5 ... 110 В DC - чутливе виконанняНомінальна споживана потужність 0,8 Вт DC - стандартне виконання
0,5 Вт DC - чутливе виконанняДані ізоляції Напруга пробою між котушкою та контактами 4000 В AC контактного зазору 1000 В AC між струмовводами 2500 В AC Додаткові дані Механічний ресурс > 3 x 107 Електричний ресурс > 2 x 105 8 A, 250 В AC Температура навколишнього середовища для роботи -40...+70 °C
- Дані котушки
Дані котушки - виконання по напрузі, живлення постійним струмом, стандартне виконання
Код котушки Номінальна напруга
В DCОпір котушки при 20 °C
ΩДопуск опору Робочий діапазон напруги живлення В DC мін. (при 20 °C) макс. (при 20 °C) 1006 6 47 ± 10% 3,9 8,5 1012 12 170 ± 10% 7,9 16,2 1024 24 740 ± 10% 16,8 33,6 1036 36 1 600 ± 10% 22,0 45,5 1048 48 3 200 ± 10% 34,0 70,0 1060 60 5 000 ± 10% 42,0 87,0 1080 80 10 000 ± 10% 61,0 125,0 1110 110 13 000 ± 10% 77,0 140,0 Дані котушки - виконання по напрузі, живлення постійним струмом, чутливе виконання
Код котушки Номінальна напруга
В DCОпір котушки при 20 °C
ΩДопуск опору Робочий діапазон напруги живлення В DC мін. (при 20 °C) макс. (при 20 °C) S005 5 47 ± 10% 3,5 8,5 S006 6 70 ± 10% 4,4 10,3 S012 12 270 ± 10% 8,8 20,3 S024 24 1 100 ± 10% 17,5 41,0 S036 36 2 000 ± 10% 24,0 55,0 S048 48 4 400 ± 10% 35,0 82,0 S060 60 6 500 ± 10% 44,0 100,0 S110 110 20 000 ± 10% 88,0 188,0
- Код замовлення
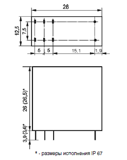
- Розміри й схеми
Габаритні розміри

Схеми комутації (вид з боку виводів)

Висновок A1(1); A2(2) 21(4); 11(7) 22(3); 24(5); 12(6); 14(8) [мм] Ø 0,6 0,2 x 1 0,35 x 1 Отвори на друкованій платі:
- для реле: Ø 1,3 + 0,1 мм
- для контактних колодок: Ø 1,5 + 0,1 мм
Розмітка монтажних отворів (вид пайки)

Монтаж
Реле RM94 призначене для:
- безпосереднього паяння на друкованих платах
- контактних колодок для друкованих плат EC 50 з кліпсою MP25-2, MH25-2, GD-0025, RM81-0001; колодок PW80 з кліпсою MP25-2, GD-0025, RM81-0001; колодок GD50з кліпсою MP25-2, GD-0025, MH25-2, RM81-0001
- Аксесуари
Контактні колодки



EC50 PW80 GD50 Аксесуари для колодок




MP25-2 - кліпса для колодок EC50, GD50 MH25-2 - кліпса для колодок EC50, PW80, GD50 MP16-2 - кліпса для колодок EC50, GD50 MH16-2 - кліпса для колодок EC50, PW80, GD50 


GD-0025 - кліпса для колодок EC50, PW80, GD50 GD-0016 - кліпса для колодки GD50 RM81-0001 - кліпса для колодок EC50, PW80, GD50






